Mercedes-Benz Split-Taillight Patent Removes Excess Wiring In The Most Genius Wa

Share
2027-mercedes-benz-glb-class-5

By Ian Wright

UPDATE: 2026/01/19 4:12 AM EST

This article has been updated with additional context on Mercedes pioneering new technology to improve lighting technology and serviceability.

If the taillights on your car, truck, or tailgate are split between the main body and the tailgate or trunk lid, you've probably noticed there's a flexible wiring cover that moves when you open the tailgate. That's so the wiring can get to the inner part of the split taillight for power and control and sync with the outer part of the split light. If there was another way of doing it, some cost and complexity could be reduced, and Mercedes may have the answer.

That's according to a recent patent filing, discovered by CarBuzz after being published by the German intellectual property office (DPMA), and it uses what's, effectively, a spring-loaded mechanical switch.

Going Low-Tech For A High-Tech Future

Mercedes Taillight Patent2
Mercedes-Benz/DPMA

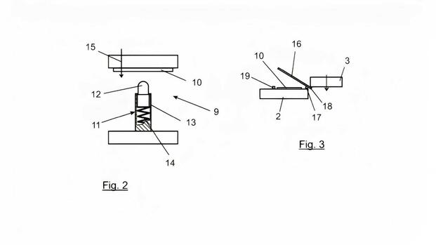
If we're reading the incredibly dense engineer-written and legally adjusted patents correctly, Mercedes is proposing that, rather than run a branch of wiring and related hardware into the trunk or tailgate, it could have a mechanical spring-loaded switch mounted inside on the movable panels, complete with electrical contacts to bridge power and signals from the outside part of the lights.

If it works reliably, hence the spring loading to account for the body moving or twisting, then rather than having to send wires from the top or back of the tailgate or trunk lid, much shorter wiring could be used to link to the switching hardware. Using a series of contacts within the switch, the power and signals can be routed directly from the outer section of light, which is closer to the wiring loom flowing around the car.

Mercedes Taillight Patent1
Mercedes-Benz/DPMA

Why This Is Important

In the average modern car, there's close to a mile's worth of wiring, which is not just complex to design and troubleshoot, but also heavy. It can account for three or four percent of a car's total weight. There's no single big answer to reducing it, so continuously shaving it away is the answer. Even if a modular design is used, everything needs power and that has to be wired. So shortening that wiring will make a difference.

2026 Mercedes-Benz E-Class Sedan Taillight
Mercedes-Benz

Mercedes also recently committed to building parts to be easily repaired rather than needing to be replaced, aiming for circularity and reduced emissions through reparation. Modern headlights were highlighted by the brand as being extremely expensive, and when damaged, could not be repaired and had to be replaced. Similarly, without convoluted wiring looms, small modular items could easily be repaired or, at the very least, replaced in isolation.

Source: DPMA

Read the full article on CarBuzz  

This article originally appeared on CarBuzz and is republished here with permission.  

Share
Autos